PT100 SINGOLO CAVI 500MM ROS/ROS/BIA

CODICE FAET
3313950
DESCRIZIONE
PT100 SINGOLO CAVI 500MM ROS/ROS/BIA
VERSIONE
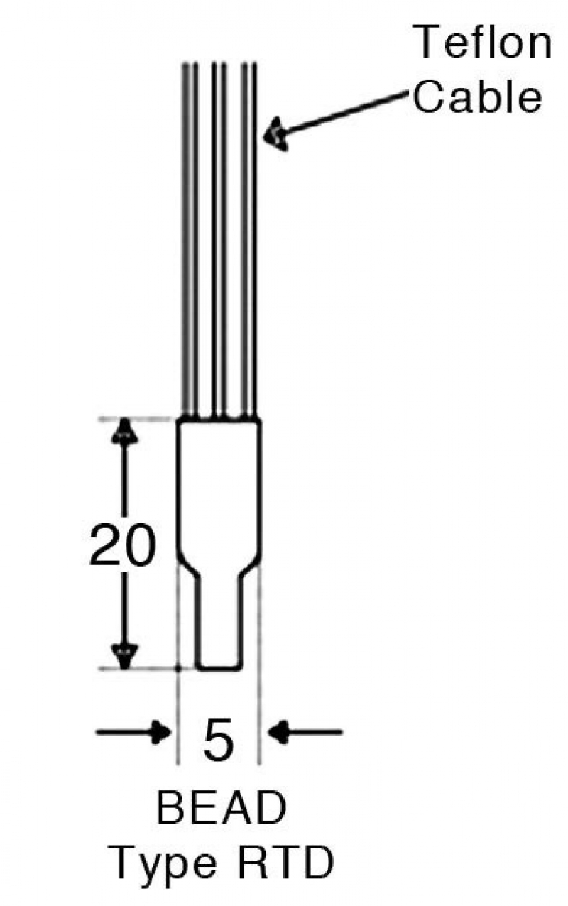
PT100 BEAD TYPE
LUNGHEZZA CAVETTI
500 mm
COLORE CAVETTI
ROSSO-ROSSO-BIANCO
PREZZO AL PZ.
34,65
Scheda tecnica