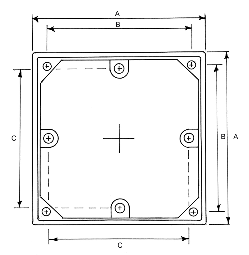
COPRIBASETTA ALLUMINIO 63/90

CODICE FAET
3308097
DESCRIZIONE
COPRIBASETTA ALLUMINIO 63/90
GRANDEZZA MEC
63 - 71 - 80 - 90
A
89
B
70
C
65
D
89
E
48
PREZZO AL PZ.
29,15